Choose your country
Go to your local Sikla page and discover offers for your country or sales region:
Country


Group: A622
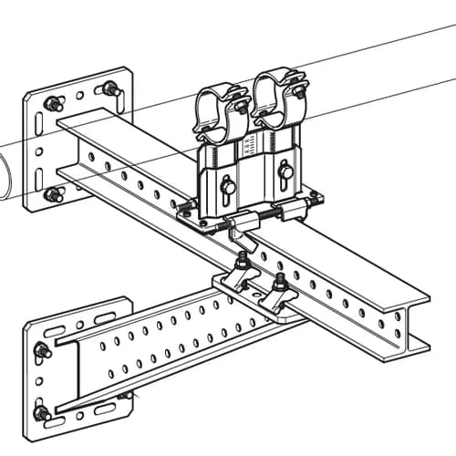
Beam bracket suitable as support for horizontal structures or as reinforcement of bearing constructions on site
Beam Bracket suitable as support for horizontal structures or as reinforcement of bearing constructions on site.
Certification

CE mark (Declaration of performance see downloads)
Material base body | steel |
Surface | HCP |
Corossion class | C4 |
Also available with DualShield for high corrosion protection within C5H environments.
Software
This product is available in the following software.





Depending on the situation, different options are recommended:
a) Fixing to the building structure using 4 heavy-duty anchors M12.
b) Frictional construction to steel beams (flange width 80 - 120 mm) with Assembly Set 5P M12 S.
c) Interlocking connection to Beam Bracket TKO 100 or 120 by means of Bracket Plates FV 100/120.
PDF (8.58MB)
Info | Type | Weight | Quantity | Part number | |
| SKO 100/120 HCP | 22 kg/pcs. | 1 pcs. | 191531 | ||