Choose your country
Go to your local Sikla page and discover offers for your country or sales region:
Country



Group: 1330
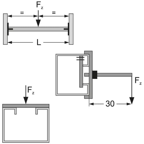
T-Bracket serves as a connecting element for cross bars between two channels
Two T-Brackets should always be used per cross bar
This T-Bracket serves as connecting element for cross bars between two channels. Note: For one cross bar always two T-Brackets should be used.
Certification

Material base body | steel |
Surface | electro galvanized (Fe//Zn) |
Corossion class | C2 |
Software
This product is available in the following software.

Per cross bar always two T-Brackets have to be used.
Info | Type | Weight | Quantity | Part number | |
| MOS MH 41 | 0,27 kg/pcs. | 10 pcs. | 143800 | ||